494949开奖结果中奖号码-4949最快开奖结果澳门-494949今晚最快开奖结果-494949最快开奖结果-ww494949最快开奖开奖-2025澳门今晚开奖结果-澳门六开奖结果2025开奖记录-澳门今晚必开一肖一特-494949最快开奖494958GD800系列工程传动柜机在河南某铝业公司混捏机上的应用
发布时间:2024-06-05点击量: 3636
项目背景
铝是继钢铁之后世界上使用第二广泛的金属,坚固而又轻盈——使铝材成为家用电子产品、建筑和机械等领域的理想应用材料。
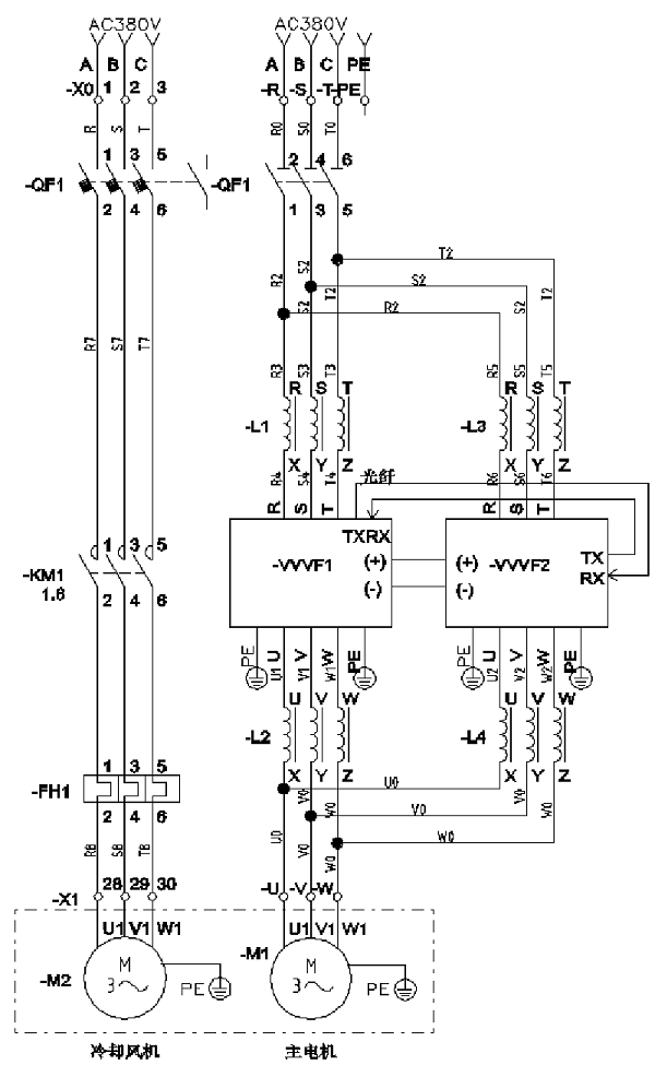
从铝土矿到铝材,是一个漫长而又高度技术化的过程,混捏机就是其中的关键设备之一,混捏机系统结构由电机、减速机、混捏机构、润滑机构等组成。由于电解过程是绝对连续的,因此需要24/7 不间断的供应碳阳极。因此,混捏机驱动器的可靠性和稳定性至关重要。
在过往,相关驱动设备被国外品牌垄断,但随着国产品牌的技术和服务水平不断提升,目前国产化替代已经成为一大趋势。
客户需求
客户原使用国际大牌变频器年限已久,其变频器器件寿命基本到达极限,对生产进度产生极大影响,由此,客户想要对相关产品进行优化更新。
其要求新的变频器产品:
1、可以完全替代原有产品
2、速度控制精度高
3、瞬时转矩大,功率平稳,变化率小
比如,当有大块沥青出现时,变频器必须在短时间输出大力矩将大块沥青与其他物料混合均匀,在输出大转矩同时还要求电流及功率变化较小,如果超过DCS控制系统限幅值,DCS系统会保护停机
494949开奖结果中奖号码-4949最快开奖结果澳门-494949今晚最快开奖结果-494949最快开奖结果-ww494949最快开奖开奖-2025澳门今晚开奖结果-澳门六开奖结果2025开奖记录-澳门今晚必开一肖一特-494949最快开奖494958方案
最终,基于供货周期、价格、维保、生产稳定性等多方综合考虑,客户决定对原有产品进行国产化替代,并选择494949开奖结果中奖号码-4949最快开奖结果澳门-494949今晚最快开奖结果-494949最快开奖结果-ww494949最快开奖开奖-2025澳门今晚开奖结果-澳门六开奖结果2025开奖记录-澳门今晚必开一肖一特-494949最快开奖494958GD800系列工程传动变频器。

GD800系列工程传动变频器具有控制单元独立模块化设计;控制单元与功率单元采用光纤通讯,电气隔离,EMC性能强,提升系统可靠性;控制单元支持外部电源独立供电或者直流母线供电,方便中控系统控制逻辑联;功率单元配置独立子控板,及时处理反馈底层运行数据,确保控制系统对底层运行有效监控,可将电机侧外部故障快速回传控制单元等特点。
方案价值
通过本次国产化替代,494949开奖结果中奖号码-4949最快开奖结果澳门-494949今晚最快开奖结果-494949最快开奖结果-ww494949最快开奖开奖-2025澳门今晚开奖结果-澳门六开奖结果2025开奖记录-澳门今晚必开一肖一特-494949最快开奖494958GD800系列产品和解决方案实现了对国际大牌的完美替代。
1、在可靠性上:可靠的器件选型,从设计源头保障产品质量,产品平均无故障时间可达80000小时,具有高可靠性,高稳定性,已在大量现场得到了验证,确保设备稳定运行,节省人工维修和设备成本。
2、在兼容性上:支持诸如CANopen、Modbus、ControINet、DeviceNet、EtherNet/Ip、PROFIBUS、PROFINET等主流通讯协议,PG卡种类丰富。
3、在性能上:启动瞬间的出力可达满负荷运行时的1.5倍,连续1.5倍负载超过负荷工作可达1分钟,另外,支持异步电机以及同步电机的开环矢量及闭环矢量控制,控制性能优越。
4、在售后维修上:494949开奖结果中奖号码-4949最快开奖结果澳门-494949今晚最快开奖结果-494949最快开奖结果-ww494949最快开奖开奖-2025澳门今晚开奖结果-澳门六开奖结果2025开奖记录-澳门今晚必开一肖一特-494949最快开奖4949587*24小时售后服务体系,和全国的服务中心,可保障24小时到达现场解决问题

494949开奖结果中奖号码-4949最快开奖结果澳门-494949今晚最快开奖结果-494949最快开奖结果-ww494949最快开奖开奖-2025澳门今晚开奖结果-澳门六开奖结果2025开奖记录-澳门今晚必开一肖一特-494949最快开奖494958GD800系列工程传动变频器在河南某铝业公司混捏机上的应用,不仅打破了混捏机驱动市场被国外品牌垄断的现状,也在国产品牌中树立标杆业绩。
除了混捏机,494949开奖结果中奖号码-4949最快开奖结果澳门-494949今晚最快开奖结果-494949最快开奖结果-ww494949最快开奖开奖-2025澳门今晚开奖结果-澳门六开奖结果2025开奖记录-澳门今晚必开一肖一特-494949最快开奖494958在有色行业各流程均拥有系统解决方案和业绩,助力全球有色企业提升负载设备节能性、降低生产和维护成本、提高自动化运行程度、提升生产效率。




