494949开奖结果中奖号码-4949最快开奖结果澳门-494949今晚最快开奖结果-494949最快开奖结果-ww494949最快开奖开奖-2025澳门今晚开奖结果-澳门六开奖结果2025开奖记录-澳门今晚必开一肖一特-494949最快开奖494958油田泵类负载解决方案
发布时间:2022-11-02点击量: 6952
摘 要:油田开采过程中会用到很多电泵,如直驱螺杆泵、潜油电泵、输油泵、注水泵等,本文介绍了变频器在各类电泵上的应用,对提升电泵工作效率,降低能耗方面,能达到良好效果。
关键词:直驱螺杆泵潜油电泵 输油泵 注水泵 变频器
1.直驱螺杆泵
1.1项目背景
永磁同步电机直驱螺杆泵由机械传动系统和电气控制系统组成,它取消了传统的皮带传动、减速箱减速装置、停机防反转机械装置等,低速永磁同步电机直接驱动光杆带动井下螺杆泵,其结构如图1所示。直接驱动方式不需要配置减速箱,不但提高了系统的工作效率,也避免了传统螺杆泵采油系统经常出现的更换皮带轮、添加润滑油、改变生产参数和管理维护不便等问题。普通螺杆泵的机械传动效率只有80%左右,而通过电机直接驱动光杆,传动效率可以达到98%。为响应国家规划发展战略,提供企业核心竞争力,完成节能减排的目标,国内石油公司正大力加快技术装备更新改造,数字化也成为油田建设的发展趋势。

图1 永磁同步电机直驱螺杆泵
1.2方案介绍
在直驱式螺杆泵数字化方案中可以用通讯控制变频器,若变频器的启停和频率给定完全用通讯控制,则在控制器中可以编入停机程序,以便当采用自动控制(通讯控制)时缓慢释放反扭矩。当发出停机命令时,Goodrive300将变频器控制方式变为扭矩模式再由控制器发出制动力矩信号,经过一定的延时时间后再停止变频器。
在油田的实际运行中,为了提高抽油机控制的可靠性,一般会备用一路端子硬接的控制方式,从而在整个直驱螺杆泵的控制中形成手动/自动控制,手动为端子控制变频器,自动为通讯控制变频器。变频器直接接入主电路,控制方式切换采用端子切换。采用变频器缓慢释放反扭矩的方案变频器需配置制动单元和制动电阻,抽油杆储存的弹性形变能量可由制动电阻消耗掉。

图2 典型井场数字化方案

图3 系统主电路
1.3方案特点
●Goodrive300采用注入电流的方式可在30ms内完成初始磁极位置的检测从而保证启动转矩大及控制电机不失步,控制系统简单,系统的启动性能、速度精度、稳定度等完全满足工况要求;
●Goodrive300变频器具有转速追踪功能,当螺杆泵转速失控时,可以平滑无冲击启动变频器(电机),让其反扭矩在受控的情况下缓慢释放;
●Goodrive300支持Modbus、Profibus等通讯功能,可以为构建油田自动化、数字化提供标准通讯接口;螺杆泵抽油机防反转一直是这种抽油方式最大的控制问题,若采用其他控制器(如PLC)来控制变频器,则可以编入防反转程序,最大限度的保证停机的安全可靠;
●采用Goodrive300变频驱动永磁同步电机在不同频率和不同负载下其整体效率(变频器+电机)高,可达93%;
●螺杆泵抽油机为恒转矩负载,它在不同的井况下有不同的最佳运行工况,在保证单井最大的采液量的情况下,控制螺杆泵的转速至最低可最大限度的降低电机的运行功率,加之整套系统本身的高效率,单井抽油系统将实现最佳运行,从宏观上看,也可节约整个采油厂成本,对经济发展亦有积极作用。
2.潜油电泵
2.1项目背景
潜油电泵是井下工作的多级离心泵,同油管一起下入井内,地面电源通过变压器和潜油电缆等将电能输送给井下潜油电机,使电机带动多级离心泵旋转,将电能转换为机械能,把油井中的井液举升到地面。通过变频驱动的潜油电泵性能稳定,节电率高,且大大减少油泵系统的维护。但是,传统变频技术的应用也带来了系列问题,变频器输出波形为PWM波,由于现场长线电缆存在分布电感和分布电容,导致电机端产生过电压,同时变频器输出存在着很高的共模电压,使电机轴承产生电流,造成电机轴承的损坏,另外变频的使用导致谐波电流更大,使电缆、电机发热严重。 针对传统变频的缺点,494949开奖结果中奖号码-4949最快开奖结果澳门-494949今晚最快开奖结果-494949最快开奖结果-ww494949最快开奖开奖-2025澳门今晚开奖结果-澳门六开奖结果2025开奖记录-澳门今晚必开一肖一特-494949最快开奖494958设计了全新的Goodrive3000三电平变频器应用在油泵上,大大的降低了变频使用对油泵系统的损害。

图4 潜油电泵
2.2方案介绍
变频器配置输入电抗器和输出电抗器;输入端通过进线柜接入电源,输出端通过接线盒接入潜油电机。

图5 潜油电泵应用电气拓扑图
2.3方案特点
●变频器采用全新的三电平拓扑,三电平拓扑具有以下优势:
--电机端的du/dt相比于两电平降低60%,减少电缆和电机的绝缘压力,从而降低了电缆和电机绕组的损坏;
-- 电机端的共模电压更小,电机轴电流小,大大减小对电机轴承的损坏;
-- 输出电压相对谐波<5%,输出电流相对谐波<3%,减少电缆、电机绕组的发热;
●输入侧配置电抗器,大大提高系统网侧的功率因数,功率因数可达0.9以上;
●电源输入端采用970~1310V的宽电网设计,可满足不同的电网环境;
●变频器配置中文液晶键盘,方便操作;
●高性能的三电平空间矢量控制(SVPWM)技术;
●采用叠层母排技术:
--减少了杂散电感和IGBT的关断尖峰;
--紧凑化的设计,减小整机的体积;
--易于安装和更换,经久耐用;
--可靠性高,安全性高;
●长寿命设计,采用薄膜电容;
●支持多种通信模式;
●变频驱动可实现潜油电机的软启动、软停车,延长油泵的使用寿命,保护电机、电缆,降低维修费用;
●可以实现输出电压、电流的连续调节,以达到输出功率连续可调的目的,使油泵系统处于最佳工作状态;
●具有过压,过流,缺相,过载,过温等多种保护功能。
3.输油泵
3.1项目背景
由于输油泵和输油管道的特性不匹配(在泵选型过程,不可能选择到完全与管路特性匹配的输油泵),在不同的实际运行工况下,需通过调节输油泵出口阀门来调节流量,据统计4台输油泵在双泵并联运行时,输油泵阀门出口最大开度不超过30%。这种运行工况造成在输油泵出口阀门的前后存在着较大的泵管压差,由于泵出口阀门的节流造成了大量的能源损失,输油泵做了大量的无用功,缩短了输油泵机组的维护周期和使用寿命。

图6 输油泵及驱动电机
3.2方案介绍
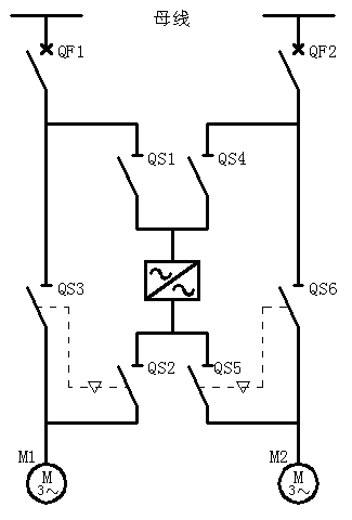
本项目Goodrive5000系列变频器配置的旁路系统采用一拖二手动方案,变频与工频能够手动切换。变频调速系统由用户开关、手动旁路柜、高压变频器、高压电机组成。手动旁路柜是由真空高压隔离开关组成。手动旁路柜严格按照“五防”联锁要求设计,完全能够保证变频调速系统安全运行。
1)旁路柜内QS1—QS6均采用高压刀闸。
2)高压变频器与上级高压开关柜控制联系:
a.“变频合闸允许”——常开接点 该点串入上级高压开关柜的合闸回路,当高压变频器控制电源已送,所有柜门均已关闭,高压变频器本身无故障。此时该接点处于闭合状态,高压开关柜内的高压断路器可以闭合。否则高压断路器不能闭合。
b.“分闸”——常开接点 该点并入上级高压开关柜的分闸回路,当高压变频器发生重故障时,接点处于闭合状态,跳开上级高压断路器,避免事故扩大。

图7 一拖二手动旁路一次系统图
3.3方案特点
●Goodrive5000高压变频器极强的过载能力,很好地满足了球磨调���过程中负载频繁变化的情况;
●与阀门调速方式相比,变频器方案能提高效率,达到很好的节能效果;
●系统维护更加简单;
●可以通过变频器,提高自动化水平,便于通过PROFIBUS-DP或Modbus组网控制,基至可以组成三级网络控制系统;
●变频器的软启动功能,使电机的启动电流<1.2倍额定电流,可以降低对电网及用电设备的冲击。而使用工频启动,冲击电流高达6~8倍;
●可以自动按设定的多段PLC运行,并具有停机记忆功能及清除记忆功能;
●通过优化工艺参数可实现更多节能。
4.注水泵
4.1项目背景
本项目公司位于西西伯利亚的某油田,注水泵站一共有三台注水泵,由于工艺流程要求注水泵根据采油量需求注水,会频繁地投切电网,投切过程中会产生很大的冲击电流,对电机的绝缘影响也较大。而由于地域因素,常年低温,不宜进行就地土建等工作,需要将产品集中与集装箱中,完成配电。一般的软启动或者变频器,已经无法满足这些特殊应用。根据客户的需求,新一代高压变频器Goodrive5000具有同步切换的功能,在满足现场工艺要求的同时,也有很好的节能效果。
4.2方案介绍
一般变频器都具有工频切变频的功能,即转速追踪启动,又叫做飞车启动。
而从变频切到工频,变频运行后直接投入工频, 如果相位角不匹配, 则冲击电流很大,甚至能达到额定电流的8倍以上。无扰切换时, 需要尽量保证电网电压与变频器输出电压相位、幅值一致,同时也需要保证电网频率与变频器输出频率一致。如果其中一个条件不一致,都会造成电网冲击。
是目前494949开奖结果中奖号码-4949最快开奖结果澳门-494949今晚最快开奖结果-494949最快开奖结果-ww494949最快开奖开奖-2025澳门今晚开奖结果-澳门六开奖结果2025开奖记录-澳门今晚必开一肖一特-494949最快开奖494958高压变频器应用较多的一种同步切换方式。与传统一拖一带旁路的主回路不同,在输出侧增加了无扰柜。切换过程:
1)首先变频运行,QS1,QS2, KM1, KM2闭合,KM4闭合,电抗器被短路;
2)变频运行到电网的频率;
3)采用锁相环,根据电机所在电网电压的相位,调整变频输出的相位与其一致;
4)锁相完成后,KM4断开,投入电抗器;
5)投入电抗器后,KM3闭合,此时变频与工频同时给电机供电;
6)同时供电稳定后, 变频器自由停机,断开KM1、KM2,电机进入纯工频状态。

图8 一拖一同步切换主回路
4.3方案特点
●整个切换过程变频器都给电机供电,电机一直处于工频同步速,速度匹配好;
●不受负载特性限制,对任意负载,都可以达到很小的冲击电流;
●方案实现起来简单;
●异步电机和同步电机均可实现;
●可实现一台变频器顺序启/停多台电机,降低设备成本(每台电机需配置一个旁路柜)。
5.结束语
变频器控制功能的日益完善,使得此类高性能变频器将会在越来越多的工业场合中得到应用。变频器在性能优异的基础上价格上也有一定的优势,对于设备制造和使用者既可以降低成本还可以提高原有变频传动的性能,此外,使用变频器大大降低能耗,既位企业节约了成本,节约了能源消耗,又保护了生态环境,在我国制造业升级的过程中,变频器的应用将会更加广泛。




